百度公布2022年第一季度未经审计的财务业绩。第一季度百度总收入为284亿元人民币,同比增长1%。归属于百度的净亏损为8 85亿元人民币。其中
58房产网邻通是什么?购买网邻通即成为58同城的VIP会员,您可以享受到针对您所在行业企业商家推出的网络营销一站式解决方案。58同城帮助您进
北京亿玛客网络营销学院地处中国互联网行业核心地带:北京市昌平区温都水城宏福大厦四层,交通方便,地理位置优越,环境优雅,教学设施先进
聚发财网是什么网站?网站介绍:直播机构,淘宝直播,专注于网络营销。聚发财网 http: www jufacai com
傲来网络是一个互联网传播全向服务提供商,以品牌策略为根,实现精准推广,致力于做最优秀的互联网服务提供商,隶属于北京傲来世纪网络营销
什么是整合网络营销?什么是整合网络营销?重庆网络营销公司理解:整合网络营销是整合所有网络资源进行企业的产品和服务的网络营销推广,让客
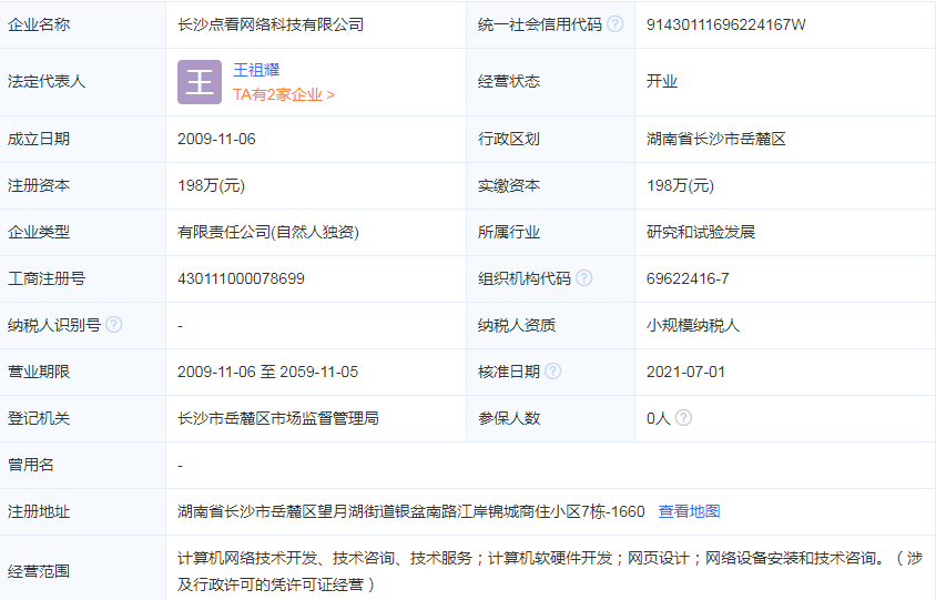
长沙点看网络科技有限公司是致力于网络营销技术与网络营销服务的高新技术企业,全国首家网络整合营销方案提供商,我们秉承占领全网的理念为
阿里巴巴、百度投资飞腾信息,后者为芯片设计服务提供商近日,飞腾信息技术有限公司发生工商变更,新增杭州阿里巴巴创业投资管理有限公司、
11月24日16时许,陈店镇阳光双语幼儿园司机吴某波驾驶该校号牌为粤D180**的中型专用校车送仙城籍学生放学回家,途径仙城老五乡刘厝庵村道一
耐受不是忍受。是否要耐受,最终的选择是根据你的职业期待而定的:如果以一种成长性的思维方式来看不愉快的关系,你的着眼点应该在于——通
一一名高中生以低价出售耐克等品牌潮鞋为幌子发布虚假信息,再采取不发货或虚假发货、不回消息等手段诈骗钱款近50万元。澎湃新闻11月20日从
近日,根据公安部净网2020专项行动的统一部署,北京市公安局朝阳公安分局在山东济宁聊城等地抓获了7名犯罪嫌疑人,打掉了一个利用抽奖链接
近日,浙江金华。义乌一小伙遭遇了裸聊视频诈骗,报警向民警求助。接警后民警连线硬核警告你试试看,到时候后果自负。同时成功劝阻小伙转账
近日,据央视网,黑龙江局地迎来强降雪,其中漠河的最低气温降至零下30度,绥芬河道路结冰,牡绥高速路封闭。尽管如此,仍有大批南方游客专
日前该省湖州市长兴县烟草专卖局破获一起案值超千万元特大涉烟网络案件,彻底摧毁外观设计、包装印刷、加工制造、仓储销售等多环节、全链条
据华尔街日报中文网19日消息,Norwegian Air Shuttle ASA(挪威航空)为旗下两家核心子公司申请破产保护,成为疫情以来受创最严重的欧洲航
苛责医护人员只会加深医患对立近日,一条河南医生在救护车内吃香蕉的短视频引发争议。有人认为这种行为可能影响救治应该等下车再吃,有人则
一名25岁的美国男子在盗窃加利福尼亚州一家比萨店的过程中,竟然顺便给自己做了一顿饭吃。警方对此直言,胆子真够大的。美国新闻网站内幕援
近日,身高只有1米4的女格斗选手布里萨在阿根廷街头被偷了手机,她在朋友的帮助下抓到了小偷并将其暴揍一顿。视频中,布里萨将小偷按在地上
东边日出西边雨。一边是美联储采取的极低利率与无限量量化宽松(QE)措施使美元指数大幅下跌,美债正遭遇全球买家抛售潮,9月份外国投资者持
从明天(11月20日)起,12项公安交管放管服改革新措施将正式实施。进一步扩大交管业务异地通办范围为更好满足群众异地工作生活需要,减少往返
记者从广东省林业局了解到,根据今年3月底新修订《广东省野生动物保护管理条例》,广东成为全国第一个完成野生动物保护省级地方性法规修订
24小时内完成术前检查,做手术并回到家中,甚至当天住院手术当天出院回家——日间手术在择期手术中的占比正在不断提高。2019年至2020年,国
受新冠肺炎疫情冲击和海外市场环境恶化影响,不少外贸企业在积极拓展国际市场、稳住海外订单的同时,开始着力出口转内销,尝试两条腿走路。
快递员派件途中违反交通规则,致他人损伤。快递公司以与快递员签订交通事故三七分责协议为由,主张其仅对损失的30%承担责任。一审法院判决
11月18日,航运概念板块较前一日的大涨态势略有下挫。同花顺数据显示,航运概念板块下跌1 02%,但部分个股依旧上扬。其中,中远海控继续保
2020年11月13日12时20分许,黑龙江省哈尔滨市公安局双城分局接到报警:双城区人民法院周家法庭负责人郝某被捅伤。周家派出所民警立即赶到现
今天(13日),奋斗者号再次深潜到太平洋马里亚纳海沟总台摄影师沧海号联合下潜传回万米海底实时画面直击探洋作业第一现场每一秒都珍贵!万米
一枚由美国造币厂于1794年铸造发行的首批硬币,将于10月8日在美国拉斯维加斯进行拍卖。这枚硬币曾在2013年以1000万美元的价格被拍卖,打破
贵阳一女子在一辆玛莎拉蒂上喷涂渣男、人渣等字样。19日,一家租车公司表示车辆系公司外租,并展示了租车合同。租车人称,他和前女友因结婚
全国两会召开在即,全国政协委员、新希望集团董事长刘永好已来到北京。在5月18日召开的新希望集团媒体沟通会上,刘永好向记者介绍了自己的
继中信银行泄露脱口秀演员王越池(艺名池子)个人交易明细曝光之后,日前,建设银行员工因参与黑色产业链、售卖客户个人信息被逮捕。第一财经
5月16日16:48,一架从加拿大温哥华飞来的东航MU7054包机航班,搭载着161名海外学子安全抵达沈阳桃仙国际机场。为确保留学生包机航班保障工
5月7日傍晚,网上流传一段两公交车车头相撞视频,其中一辆车的前挡风玻璃完全破裂。事故占据了一条机动车道,过往车辆纷纷避让,现场通行受
